Fabriquer son propre papier, le papier recyclé
1. Matériel
2. La fabrication du "moule"
3. La fabrication de la presse
4. La fabrication de la pâte à papier
5. Le processus de fabrication
6. Le couchage
7. Le pressage
8. La décoration
![]()
La fabrication du papier recyclé nécessite de vieux journaux ou
vieux papiers en guise de matière première entrant dans l'élaboration
de la pâte à papier.
Les feuilles seront fabriquées à l'aide d'un appareil très simple
qui servira de "moule".
De vieux chiffons seront utilisés pour déposer les feuilles recyclées
encore mouillées.
L'ultime phase de la réalisation fera appel à une presse également
très simple à construire. ![]()
Le "moule" est constitué de deux éléments indépendants construits, par exemple, à l'aide de tasseaux de section 2 cm X 3 cm.
a. La forme
C'est la pièce maîtresse de l'appareil sur laquelle les fibres de
la pâte à papier viendront se déposer au cours du processus de fabrication.
La forme est composée d'un cadre construit selon le schéma n° 1.
Les dimensions intérieures de ce cadre conditionneront celles des
feuilles recyclées.
Ce cadre sera recouvert d'un tamis, constitué par exemple d'une
toile de moustiquaire, fixé sur les faces externes du cadre à l'aide
de punaises. La tension du tamis devra être maximum pour éviter
un dépôt irrégulier de la pâte à papier.
b. La couverte
C'est un cadre aux dimensions identiques à celles de la forme,
mais sans toile, et qui servira à délimiter les feuilles recyclées.
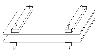
3. La fabrication de la presse
La presse est indispensable pour obtenir des feuilles fines. Elle
sera fabriquée selon le schéma n°2 à partir de deux planches de
contre-plaqué de 10 mm de 30 X 40 cm ainsi que de 4 tasseaux dont
la longueur sera légèrement supérieure à la largeur des planches.
Les extrémités de ces tasseaux seront percées pour permettre le
passage d'une tige filetée de 6 mm équipée de papillons de serrage
(diamètre conseillé des trous : 7 mm).
Les tasseaux pourront être collés sur les planches de contre-plaqué
en respectant un positionnement conforme au schéma. ![]()

4. La fabrication de la pâte à papier
Nous utiliserons la proportion d'une double page de journal pour
4 litres d'eau afin d'obtenir des feuilles suffisamment fines. Dans
une bassine contenant la quantité prévue d'eau chaude de préférence,
découper les pages du journal en petits morceaux d'environ 2 à 3
cm². Agiter ensuite cette préparation à l'aide d'un bâton jusqu'à
obtention d'une solution homogène. L'utilisation d'un mixer permettra
d'accélérer le processus, mais il n'est pas indispensable. ![]()
5. Le processus de fabrication
Mélanger tout d'abord la pâte à papier de façon à rendre le mélange
homogène. La forme sera immergée dans la pâte à papier en orientant
le tamis vers le haut. Disposer ensuite la couverte sur la forme
et retirer l'ensemble forme + couverte de la bassine. Lorsqu'un
maximum d'eau se sera écoulé à travers le tamis, la couverte pourra
être retirée en prenant garde aux gouttes qui pourraient abîmer
la feuille.
On constatera que la couverte a parfaitement délimité la feuille
aux dimensions internes du cadre. ![]()
Le couchage, qui est la phase la plus délicate, consiste à déposer
la feuille du tamis sur un chiffon disposé à plat sur la partie
inférieure de la presse. Pour cela, il faudra retourner la forme
et la poser délicatement sur le chiffon en mettant le tamis en contact
avec le chiffon. Frotter légèrement le tamis avec les doigts et
retirer précautionneusement la forme en commençant par un côté.
La feuille de papier recyclé adhérera au chiffon qui servira de
support pendant le pressage.
Une fois la feuille couchée, recouvrir d'un second chiffon et renouveler
l'opération jusqu'à obtention du nombre désiré de feuilles. ![]()
Lorsque toute les feuilles auront été couchées, on pourra effectuer
le pressage qui a pour but d'éliminer l'eau contenue dans le papier
et d'obtenir des feuilles fines et planes.
Mettre en place la partie supérieure de la presse ainsi que les
tiges filetées et les papillons. Ne pas hésiter à serrer fort, mais
de façon uniforme, les 4 coins de la presse.
Laisser les feuilles dans la presse une ou deux heures puis les
sortir en "décollant " les chiffons les uns des autres tout en veillant
à ne pas déchirer la page se trouvant sous le chiffon. Poser chaque
chiffon à plat pour que le séchage soit rapide.
Une fois sèches, les feuilles se décolleront sans aucune difficulté
des chiffons. ![]()
En donnant libre cours à son imagination, on pourra varier la texture
et la couleur des feuilles en introduisant par exemple des morceaux
de magazines, de tous petits bouts de laine, des éléments naturels
comme de l'herbe ou des feuilles mortes. On pourra également intercaler
pendant le pressage toutes sortes d'éléments (fil de fer, objets
plats, ...) afin d'obtenir des effets de relief. ![]()